抱歉,您的浏览器无法访问本站
本页面需要浏览器支持(启用)JavaScript
了解详情 >

摘要:本文学习了MyBatis的核心原理,包括架构设计、核心组件、执行流程和工作机制。

环境

Windows 10 企业版 LTSC 21H2
MySQL 5.7.40
Java 1.8
Maven 3.6.3
MyBatis 3.5.6

1 架构设计

MyBatis采用分层架构设计,主要分为三个层次。

1.1 接口层(API接口层)

提供给开发者使用的接口,用于执行SQL操作。主要组件包括:

  • SqlSession接口:代表一次数据库会话,提供增删改查等数据库操作方法。
  • Mapper接口:通过Java接口定义SQL操作,支持XML和注解两种配置方式。
  • Configuration类:配置中心,管理所有配置信息。

1.2 核心层(核心处理层)

核心处理层,负责核心操作:

  • SQL解析器:解析XML配置和注解配置的SQL语句。
  • 参数处理器:处理SQL参数的类型转换和映射。
  • SQL执行器:执行SQL语句的核心组件。
  • 结果映射器:将查询结果映射到Java对象。

1.3 基础层(基础支撑层)

提供底层支撑,为核心层提供保障:

  • 数据源管理:管理数据库连接池。
  • 事务管理:处理数据库事务。
  • 缓存机制:提供一级缓存和二级缓存。
  • 日志系统:记录SQL执行日志。

2 核心组件

2.1 SqlSessionFactoryBuilder

负责根据配置信息构建SqlSessionFactory对象,一旦创建完成,使命即结束,通常作为工具类使用。

特点:

  • 构建完成后即可丢弃,不会占用长期资源。
  • 线程安全。
  • 允许使用不同配置构建多个SqlSessionFactory对象。

2.2 SqlSessionFactory

用于创建SqlSession的核心工厂类,线程安全,通常在整个应用运行期间只有一个对象。

特点:

  • 每个应用通常只有一个对象。
  • 线程安全,可以被多个线程共享。
  • 管理数据库连接池和事务配置。

2.3 SqlSession

代表一次数据库会话,非线程安全,是操作数据库的主要接口,底层封装了Executor对象。

特点:

  • 非线程安全,只能在单线程内使用,不能被多个线程共享。
  • 使用后必须及时关闭,以释放数据库连接。
  • 管理一级缓存(默认开启),同一会话中重复查询可命中缓存。

2.4 Mapper

由Java接口和SQL组成,支持XML和注解两种配置方式。

特点:

  • 通过动态代理机制实现。
  • 支持XML和注解两种配置方式。
  • 自动处理参数映射和结果转换。

2.5 Executor

负责SQL语句的生成和缓存维护,会调用StatementHandler来完成数据库操作。

特点:

  • 根据配置可选择三种执行器类型,适应不同场景。
  • 管理一级缓存,控制缓存的创建与清除。
  • 内部真正的执行者,协调各组件完成数据库操作。

三种基本类型:

  • SIMPLE:简单执行器,不做任何处理,直接执行SQL语句。默认执行器。
  • REUSE:复用执行器,缓存Statement对象,避免频繁的创建和销毁。
  • BATCH:批量执行器,将多条SQL收集后一次性发送到数据库执行,减少网络开销。

2.6 StatementHandler

处理JDBC的Statement,负责设置参数、执行SQL、处理结果集。

特点:

  • 采用策略模式,根据StatementType选择具体实现类。
  • 提供三种主要实现类,分别对应不同的Statement类型。
  • 与ParameterHandler和ResultSetHandler协作,完成参数设置和结果映射。

主要实现类:

  • SimpleStatementHandler:负责处理普通Statement,适用于无参数占位符的SQL语句。
  • PreparedStatementHandler:负责处理预编译的Statement,适用于有参数占位符的SQL语句。
  • CallableStatementHandler:负责处理存储过程的Statement,适用于调用存储过程的SQL语句。

2.7 ParameterHandler

负责将Java方法的参数转换为JDBC需要的参数。

特点:

  • 屏蔽参数设置细节,开发者无需手动处理参数占位符。
  • 支持配合TypeHandler完成复杂的类型转换。

2.8 ResultSetHandler

负责将JDBC返回的ResultSet结果集转换为Java对象。

特点:

  • 需要开发者手动处理结果集的类型转换。
  • 支持配合TypeHandler完成复杂的类型转换。

2.9 TypeHandler

负责实现Java类型与JDBC类型之间的双向转换。

特点:

  • 内置大量常用类型的TypeHandler转换器。
  • 支持自定义转换器处理特殊类型。

2.10 MappedStatement

代表XML和注解中定义的SQL节点,封装了SQL的所有信息,包含了SQL语句、参数映射、结果映射等信息。

特点:

  • 每个SQL映射对应一个MappedStatement对象。
  • 在配置加载时解析生成,供执行阶段使用。

2.11 Configuration

全局配置类,保存了所有配置信息,贯穿整个执行流程。

特点:

  • 持有所有组件的引用。
  • 提供访问配置信息的统一入口,是框架运行时的上下文。

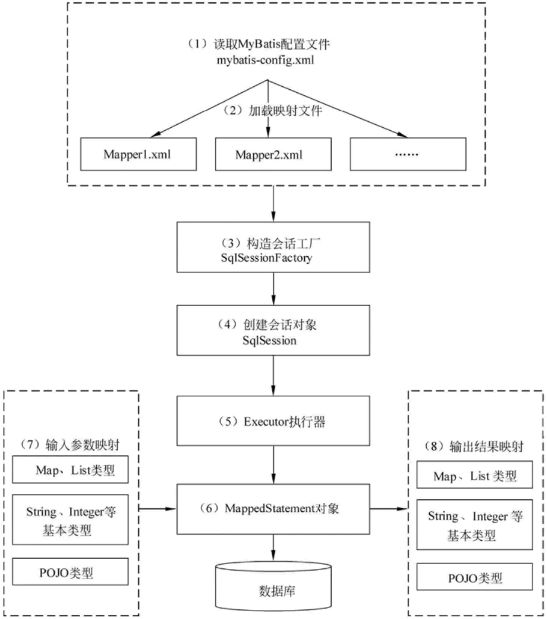
3 核心流程

启动流程如下:
20260225171231-核心流程

启动流程说明:

  • 读取配置文件:读取mybatis.xml全局配置文件,加载运行环境,以及数据库连接信息。
  • 加载映射文件:读取全局配置文件中配置的映射文件,一个配置文件对应一张表。
  • 构造会话工厂:通过SqlSessionFactoryBuilder传入配置文件创建SqlSessionFactory会话工厂。
  • 创建会话对象:通过SqlSessionFactory会话工厂创建SqlSession会话对象。
  • 执行语句方法:调用Executor执行器的方法,从传入MappedStatement对象中获取SQL语句和参数,执行SQL语句。
  • 输入参数映射:将输入参数映射到SQL语句中。
  • 输出参数映射:将结果映射到输出参数中。

执行流程说明:

  • 获取SqlSession对象:从SqlSessionFactory获取数据库会话。
  • 获取Mapper代理:通过动态代理创建Mapper接口实现。
  • 方法调用:调用Mapper接口方法。
  • SQL解析:解析对应的SQL语句和参数映射。
  • 参数处理:处理方法参数,转换为SQL参数。
  • 执行SQL:通过执行器执行SQL语句。
  • 结果映射:将查询结果映射到Java对象。
  • 返回结果:返回处理后的结果。

评论